Для активации новой учетной записи и ее подтверждения на Форуме - необходимо связаться с администратором по электронной почте p-i-n-o-k-i-o@mail.ru.
Все новые учетные записи не прошедшие подтверждения администратором воспринимаются как спам.
Все новые учетные записи не прошедшие подтверждения администратором воспринимаются как спам.
Модульный предварительный усилитель
- seurf
- Знаток

- Сообщения: 1232
- Зарегистрирован: 12 май 2016, 19:54
- Откуда: Волгоград
- Благодарил (а): 265 раз
- Поблагодарили: 214 раз
- Контактная информация:
Тут практическая реализация:
http://diyaudioprojects.com/Forum/viewt ... f=13&t=785
Естественно без пары ложек дёгтя мёд не бывает: особые требования по минимальному сопротивлению по следующего за ним каскада и необходимость подбора согласованной пары в стерео вариант. Но этим озаботились и предлагают подобранные экземпляры. Баланс очень трудная засада, в подборе одинаковых элементов.
http://diyaudioprojects.com/Forum/viewt ... f=13&t=785
Естественно без пары ложек дёгтя мёд не бывает: особые требования по минимальному сопротивлению по следующего за ним каскада и необходимость подбора согласованной пары в стерео вариант. Но этим озаботились и предлагают подобранные экземпляры. Баланс очень трудная засада, в подборе одинаковых элементов.
Александр
- seurf
- Знаток

- Сообщения: 1232
- Зарегистрирован: 12 май 2016, 19:54
- Откуда: Волгоград
- Благодарил (а): 265 раз
- Поблагодарили: 214 раз
- Контактная информация:
Все в своих проектах заняты, а эта тема заглохла. Poty на всех не хватает, на разрыв человека... случайно увидел раздетый заводской пред, не удержался, что бы сюда картинки перенести. Вдруг какой то прием, организацию пространства удастся по заимствовать. Фирма уважаемая и с большой историей.
Увидел тут http://soundex.ru/forum/index.php?/clas ... s26-vt130/
Увидел тут http://soundex.ru/forum/index.php?/clas ... s26-vt130/
- Рейтинг: 16.7%
-
Александр
- seurf
- Знаток

- Сообщения: 1232
- Зарегистрирован: 12 май 2016, 19:54
- Откуда: Волгоград
- Благодарил (а): 265 раз
- Поблагодарили: 214 раз
- Контактная информация:
Тоже смотрел, с не пониманием. То ли поролон для демпфирования, то ли феррит, для защиты от излучений сетевого трансформатора? На каких то есть, на других сэкономили? Или туда транс уже не гадит? Обратил внимание на трансформатор R-core, реле на вертикальной плате входов ( вообще количество коммутационных разъемов на задней панели и количество реле на платах зашкаливает), отдельный трансик (левый нижний угол, так же прикрытый этой штукой) наверное для цифрового дисплея? Апофеозом, гордо торчат две лампы (6H30 dual triode (Hybrid JFET/tube audio circuit)) и четверка огромных конденсаторов (желто-красных). Пульт ДУ, баланс, дисплей на лицевой панели: все о чем мы пока только мечтаем!
Александр
- poty
- Профи

- Сообщения: 5049
- Зарегистрирован: 24 мар 2014, 10:00
- Откуда: Россия, Москва
- Благодарил (а): 192 раза
- Поблагодарили: 664 раза
- Контактная информация:
Не надейтесь!
Я тоже хотел поставить у задней стенки плату со входами, но сделать немного по-другому: "нарезать" каждую вертикальную полоску отдельно и набирать нужное количество и состав входов. То, что здесь реализовано на основной плате (переход баланс/небаланс) - хотел реализовать в активном виде в виде такой же "полоски" у задней стенки.
Трудно сказать, что там на конденсаторах. Не удивлюсь, если в собранном виде это прикрыто какой-нибудь крышкой для экранировки и эти элементы - демпфируют и изолируют эту крышку от остальных деталей.
R-core мне тоже нравится. А 6Н30 одно время была чуть ли не "царь-лампой" в среде аудиофилов. Не уверен, что заслуженно.
Пульт ДУ и баланс фактически реализованы сейчас крайне недорого - куча поделок продаются. Дисплей - да, в основном из доступного - только простые, но есть и нормальные дисплеи, только по стоимости выходит немало.
Владислав
- seurf
- Знаток

- Сообщения: 1232
- Зарегистрирован: 12 май 2016, 19:54
- Откуда: Волгоград
- Благодарил (а): 265 раз
- Поблагодарили: 214 раз
- Контактная информация:
Не совсем понимаю, где HiEnd? Конденсаторы Wima вокруг блока питания или обычные электролиты за 3$? Black Gate тоже не видать. Duelund? Не разглядел. Не опознанные 4 конденсатора большого размера? Но точно не четвёрка фаворитов: Duelund, AN, Jensen, VCap. Лампы WE1936 года? Нет. Какие-то уникальные реле с платиновыми контактами? Дорожки платы покрыты инверсным золотом толщиной 1 мм? Не наблюдается. Подобные выводы тогда можно сделать про входные/выходные разъемы. Точно не из чистого куска золота изготовлены.
В общем загадка. Очень солидный HiFi? Двумя руками.
В общем загадка. Очень солидный HiFi? Двумя руками.
Александр
- goldmen8
- Опытный

- Сообщения: 554
- Зарегистрирован: 25 май 2018, 10:02
- Откуда: г. Киров (на р. Вятка)
- Благодарил (а): 138 раз
- Поблагодарили: 188 раз
- Контактная информация:
Надеюсь кому ни будь пригодятся мои изыскания.
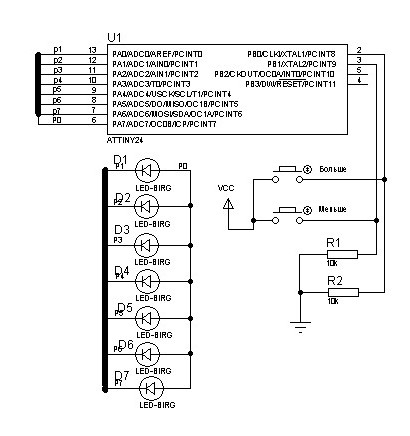
Ян показал схему и предложил написать код для неё.
Вы не смотрите что всего семь светодиодов, они двунаправленные. Скорость симуляции убавлена (замедленна) чтоб рассмотреть что происходит.
Небольшое описание
- при включении происходит поочерёдный сброс реле (переключения всех реле в "0").
- при каждом нажатии на кнопку "Больше" прибавляется "1" и так до "127".
- при каждом нажатии на кнопку "Меньше" вычитается "1" происходит это од "0".
- при одновременном нажатии на обе кнопки (одна кнопка нажимается вперёд) происходит прибавление (вычитание) сначала "1" а затем ещё "7"
Записи нового числа происходит (пока) за два шага:.
- первый шаг - выключаем те реле которые не нужны в следующей позиции (включении)+ пауза (выдержка) 3мс.
- второй шаг - включаем реле нового значения выдержка процедуры.
К примеру взять начальное число 57 второе число 93... представим числа в двоичном виде.
57 - 0011 1001
93 - 0101 1101
нужно выключить всего одно реле и включить два.
выкл - 0010 0000 (32)
вкл - 0100 0100 (68)
Таким образом возможно переходить с любого числа на другое которое задано, в любую сторону (уменьшение или увеличение).
Думаю что вводить числовое значение возможно не только с кнопок, а также при помощи протоколов SPI (три порта свободные) или I2C (нужно два порта).
Ян показал схему и предложил написать код для неё.
Я посчитал что это не интересно, в смысле использования 595-й. ... держа в голове предложение Владислава, я решил реализовать процесс переключения реле на АТTINNY24.
TINNY24_relay
Вы не смотрите что всего семь светодиодов, они двунаправленные. Скорость симуляции убавлена (замедленна) чтоб рассмотреть что происходит.
Небольшое описание
- при включении происходит поочерёдный сброс реле (переключения всех реле в "0").
- при каждом нажатии на кнопку "Больше" прибавляется "1" и так до "127".
- при каждом нажатии на кнопку "Меньше" вычитается "1" происходит это од "0".
- при одновременном нажатии на обе кнопки (одна кнопка нажимается вперёд) происходит прибавление (вычитание) сначала "1" а затем ещё "7"
Записи нового числа происходит (пока) за два шага:.
- первый шаг - выключаем те реле которые не нужны в следующей позиции (включении)+ пауза (выдержка) 3мс.
- второй шаг - включаем реле нового значения выдержка процедуры.
К примеру взять начальное число 57 второе число 93... представим числа в двоичном виде.
57 - 0011 1001
93 - 0101 1101
нужно выключить всего одно реле и включить два.
выкл - 0010 0000 (32)
вкл - 0100 0100 (68)
Таким образом возможно переходить с любого числа на другое которое задано, в любую сторону (уменьшение или увеличение).
Думаю что вводить числовое значение возможно не только с кнопок, а также при помощи протоколов SPI (три порта свободные) или I2C (нужно два порта).
- Рейтинг: 33.3%
-
Александр.
- goldmen8
- Опытный

- Сообщения: 554
- Зарегистрирован: 25 май 2018, 10:02
- Откуда: г. Киров (на р. Вятка)
- Благодарил (а): 138 раз
- Поблагодарили: 188 раз
- Контактная информация:
Я к этому и вёл всю эту предыдущую "канитель", хотел понять что и как нужно.
Не стал "приклеивать" к модельке "SPI", посчитал не перспективным.
Связь с верхним уровнем "верхним уровнем"...
когда-то проходил такую процедуру, делалось на "I2C". Был реализован обмен туда - сюда. Притом "ведомый" не только управлял схемой поддерживая заданный режим но и передавал данные на верх "ведущему".
... беда, что не часто занимаюсь таким "творчеством".
Я думаю что значение "Mute" должен держать в голове "ведущий" и оно заносится пользователем при программирование. "ведомый" получив значение сразу встанет в него, с любого места. Можно ввести ограничение за действие "Mute", когда установленное (действующее) значение меньше.
... это так, соображения в слух.
Не стал "приклеивать" к модельке "SPI", посчитал не перспективным.
Связь с верхним уровнем "верхним уровнем"...
... беда, что не часто занимаюсь таким "творчеством".
Наведите на мысль, с чего и куда ... какое значение должно быть у задания "Mute". Будем пробовать...
Я думаю что значение "Mute" должен держать в голове "ведущий" и оно заносится пользователем при программирование. "ведомый" получив значение сразу встанет в него, с любого места. Можно ввести ограничение за действие "Mute", когда установленное (действующее) значение меньше.
... это так, соображения в слух.
Александр.
- poty
- Профи

- Сообщения: 5049
- Зарегистрирован: 24 мар 2014, 10:00
- Откуда: Россия, Москва
- Благодарил (а): 192 раза
- Поблагодарили: 664 раза
- Контактная информация:
Перенёс сообщения в эту тему, чтобы не мешать развитию темы Яна в основной ветке.
Мне как раз хочется двигаться в таком направлении - некоторой иерархии процессоров, достаточно мощных, чтобы напрямую управлять исполнительными устройствами и недорогих, чтобы не увеличивать стоимость комбинаций процессоров и разного рода "умощнителей".
Предлагаю следующее развитие:
- (возможно уже реализовано - не могу пока посмотреть код) перейти на управление прерываниями;
- использовать протокол, подобный 1-Wire: мы можем всю иерархию "посадить" на одну шину, выбор устройства будет происходить либо за счёт 1-2 адресных шин, либо за счёт протокола передачи (команды "неизвестные" устройству будут им приниматься и игнорироваться, "известные" - отрабатываться);
- использовать команды для настройки и прямого управления.
Могу немного поподробнее написать, что я имею в виду.
Мне как раз хочется двигаться в таком направлении - некоторой иерархии процессоров, достаточно мощных, чтобы напрямую управлять исполнительными устройствами и недорогих, чтобы не увеличивать стоимость комбинаций процессоров и разного рода "умощнителей".
Предлагаю следующее развитие:
- (возможно уже реализовано - не могу пока посмотреть код) перейти на управление прерываниями;
- использовать протокол, подобный 1-Wire: мы можем всю иерархию "посадить" на одну шину, выбор устройства будет происходить либо за счёт 1-2 адресных шин, либо за счёт протокола передачи (команды "неизвестные" устройству будут им приниматься и игнорироваться, "известные" - отрабатываться);
- использовать команды для настройки и прямого управления.
Могу немного поподробнее написать, что я имею в виду.
Владислав
- goldmen8
- Опытный

- Сообщения: 554
- Зарегистрирован: 25 май 2018, 10:02
- Откуда: г. Киров (на р. Вятка)
- Благодарил (а): 138 раз
- Поблагодарили: 188 раз
- Контактная информация:
Наверное как то так…
форум 1wire
"Мастера" описывать особо не буду, наверное всё как обычно. Запрос присутствия адрес > ответ (подтверждение) > посылка адреса устройства и byte (значения) > получение данных...
Кнопки "больше", "меньше" и "mute" (37 - может быть любым). Мастер по несколько раз (два - три) опрашивает одно и тоже устройство.
На пробу подключил три устройства "slave". Два на attiny13 и attiny24.
Устройство на attiny13 под №2 - принимаем адрес 22 > отсылает свой код записанный в него.
Устройство на attiny13 под №3 - принимаем адрес 33 > отсылает сначала свой код записанный и последним byte от входа ADC2.
Устройство на attiny24 под №1 - принимаем адрес (11 – может быть любой до 99) и "byte" значения > "отвечаем" четыре байта (вписанный код) и число которое было записано в прошлый раз. Обработка вывода на реле осталась без изменений.
Ну и по ресурсам.
Больше всего было интересно сколько места останется в attiny13
Device: attiny13_№2
Program: 630 bytes (61.5% Full) (.text + .data + .bootloader)
Data: 34 bytes (53.1% Full) (.data + .bss + .noinit)
Device: attiny13_№3
Program: 684 bytes (66.8% Full)
Data: 34 bytes (53.1% Full)
Device: attiny24
Program: 840 bytes (41.0% Full)
Data: 42 bytes (32.8% Full)
Вот бы ещё в "железе" обкатать ...
1wire 595
форум 1wire
"Мастера" описывать особо не буду, наверное всё как обычно. Запрос присутствия адрес > ответ (подтверждение) > посылка адреса устройства и byte (значения) > получение данных...
Кнопки "больше", "меньше" и "mute" (37 - может быть любым). Мастер по несколько раз (два - три) опрашивает одно и тоже устройство.
На пробу подключил три устройства "slave". Два на attiny13 и attiny24.
Устройство на attiny13 под №2 - принимаем адрес 22 > отсылает свой код записанный в него.
Устройство на attiny13 под №3 - принимаем адрес 33 > отсылает сначала свой код записанный и последним byte от входа ADC2.
Устройство на attiny24 под №1 - принимаем адрес (11 – может быть любой до 99) и "byte" значения > "отвечаем" четыре байта (вписанный код) и число которое было записано в прошлый раз. Обработка вывода на реле осталась без изменений.
Ну и по ресурсам.
Больше всего было интересно сколько места останется в attiny13
Device: attiny13_№2
Program: 630 bytes (61.5% Full) (.text + .data + .bootloader)
Data: 34 bytes (53.1% Full) (.data + .bss + .noinit)
Device: attiny13_№3
Program: 684 bytes (66.8% Full)
Data: 34 bytes (53.1% Full)
Device: attiny24
Program: 840 bytes (41.0% Full)
Data: 42 bytes (32.8% Full)
Вот бы ещё в "железе" обкатать ...
1wire 595
- Рейтинг: 33.3%
-
Александр.
- goldmen8
- Опытный

- Сообщения: 554
- Зарегистрирован: 25 май 2018, 10:02
- Откуда: г. Киров (на р. Вятка)
- Благодарил (а): 138 раз
- Поблагодарили: 188 раз
- Контактная информация:
Обкатать... в первую очередь, хотелось бы то что насочинял по "1-Wire".
Есть некоторые сомнения: - по управлению реле; - по переключению; - по временным выдержкам; - по общему току.
При старте реле по очереди возвращаются в "0" по два начиная со старшего разряда. В дальнейшей работе такого нет. Наверное стоит внедрить. В attiny24 место ещё есть...
Есть некоторые сомнения: - по управлению реле; - по переключению; - по временным выдержкам; - по общему току.
При старте реле по очереди возвращаются в "0" по два начиная со старшего разряда. В дальнейшей работе такого нет. Наверное стоит внедрить. В attiny24 место ещё есть...
Александр.
Кто сейчас на конференции
Сейчас этот форум просматривают: нет зарегистрированных пользователей и 1 гость
