Для активации новой учетной записи и ее подтверждения на Форуме - необходимо связаться с администратором по электронной почте p-i-n-o-k-i-o@mail.ru.
Все новые учетные записи не прошедшие подтверждения администратором воспринимаются как спам.

Опыт эксплуатации тонармов SME 3009/3012

Модератор: Роман Мирошниченко

Аватара пользователя
Роман Мирошниченко
Заслуженный Ветеран
Заслуженный Ветеран
Сообщения: 4415
Зарегистрирован: 09 май 2014, 13:31
Откуда: Саратов
Благодарил (а): 536 раз
Поблагодарили: 187 раз
Контактная информация:

Нужна информация по картриджам

#61

Сообщение Роман Мирошниченко » 01 апр 2015, 23:49

Тяжело идет это дело. Иформации вообще мало. А что есть на английском (в лучшем случае). Да еще и в графике - в переводчик не загнать. Пока нашел по PICKERING XV15. На www.vinylengine.com.

ve_pickering_xv-15
ve_pickering_xv-15_brochure

Интересную фишку обнаружил:
Pickering ground strap.jpg
Но, не пойму о чем речь. На картридже у основания этого штырька есть пластинка (соединение земли левого канала на корпус головки)). Шелл у меня металлический (как описано), а вот что сделать нужно? Надо подумать... :think: :spy: Корпус головки металлический, соединяется в этом контакте с "землей" левого канала. Но, корпус картриджа также соединен с металлическим шеллом, а тот с металлическим тонармом к которому подсоединена земля идущая к корректору. По идее этот "язычек" убирать нужно от земли левого канала... :help: :eek:

Аватара пользователя
poty
Профи
Профи
Сообщения: 5049
Зарегистрирован: 24 мар 2014, 10:00
Откуда: Россия, Москва
Благодарил (а): 192 раза
Поблагодарили: 664 раза
Контактная информация:

#62

Сообщение poty » 02 апр 2015, 12:44

В описании явно написано, что эта пластинка должна удаляться, если есть проблемы с шумом. Надо сказать, что если Вы будете в дальнейшем использовать балансное соединение, то её абсолютно точно нужно удалять.
Владислав

Аватара пользователя
Роман Мирошниченко
Заслуженный Ветеран
Заслуженный Ветеран
Сообщения: 4415
Зарегистрирован: 09 май 2014, 13:31
Откуда: Саратов
Благодарил (а): 536 раз
Поблагодарили: 187 раз
Контактная информация:

Все мои картриджи имеют заземление корпуса на канал

#63

Сообщение Роман Мирошниченко » 02 апр 2015, 18:27

Постарался вернуться домой засветло. Осмотрел картриджи. Оказалось, что у всех корпус заземлен на канал.
IMG_4372.JPG
Stanton.
IMG_4374.JPG
AT.
IMG_4375.JPG
Shure.
IMG_4378.JPG
Empire.
IMG_4380.JPG
Pickering.
IMG_4385.JPG
Ortofon.
Только у Sumiko этого нет.
IMG_4377.JPG
Sumiko.
Решил попробовать убрать. Начал со Stanton. Страшно. :eek: Иголочкой... Пинцетиком... :spy:
IMG_4382.JPG
Тяжело, но вышло. Видно, что только прижато было. При желании, можно на место поставить (наверное!). Так, как у Stanton, Pickering и Empire корпуса конструктивно одинаковые, снял на всех эту "землю". Уже легче пошло. :biggrin: По остальным не рискнул пока.

Установил на проигрыватель. Сложно дать оценку звуку. Субъективного много.

Аватара пользователя
Роман Мирошниченко
Заслуженный Ветеран
Заслуженный Ветеран
Сообщения: 4415
Зарегистрирован: 09 май 2014, 13:31
Откуда: Саратов
Благодарил (а): 536 раз
Поблагодарили: 187 раз
Контактная информация:

#64

Сообщение Роман Мирошниченко » 03 апр 2015, 15:42

"Накопал" инструкций и пр. пр. по своим картриджам. К сожалению все в *.pdf. Не могу использовать автопереводчик. Пока только поверхностно знакомлюсь. Только в одном месте нашел упоминание о VTA. В инструкции на SHURE v.15 III.

ve_shure_v15_iii

Ну, и моя мысль о параллельности установки картриджа поверхности пластинки прямо подтверждается:
Shure v15 III OM VTA 1.jpg
Shure v15 III OM VTA.jpg
Кстати, так же упоминается необходимость удалять контакт "земли" корпуса. Про это написано и в инструкции на STANTON 881S. Получается, что при использовании металлических шеллов, это "правило хорошего тона"? Интересно, кто-нибудь делает это?

Аватара пользователя
Роман Мирошниченко
Заслуженный Ветеран
Заслуженный Ветеран
Сообщения: 4415
Зарегистрирован: 09 май 2014, 13:31
Откуда: Саратов
Благодарил (а): 536 раз
Поблагодарили: 187 раз
Контактная информация:

Новые весы "ORTOFON DS-3"

#65

Сообщение Роман Мирошниченко » 05 апр 2015, 15:22

Получил-таки новые весы. Не без страданий, но спасибо Яну, не бросил меня...
image.jpg
В принципе, весы у меня уже были. Но, опыт пользования показал их неудобство. Иглу желательно устанавливать в отмеченную точку (иначе показания получаются не стабильные). А это не всегда удобно. Не всегда видно под картриджем, куда там игла попадает.
image.jpg
И были еще определенные ограничения с ними. Максимальный вес 5 грамм. И прижимноя сила для иглы с кисточкой выставляется условно, площадка не ровная - давление распределяется не одинаково.

Пробую. Старые и новые.



Новыми пользоваться очень удобно. Однако странно, что показания расходятся. Проверяю.


Странно, проверка показала идентичность работы с разным весом. Возможно, погрешность вносится именно положением иглы на площадке старых весов. :think:

Я жду от использзования новых весов именно расширения возможностей. Я собираюсь заняться уменьшением веса системы "картридж/шелл". И они мне позволят это взвесить:
image.jpg
image.jpg
И даже отдельный болтик.
image.jpg
Увы со старыми весами я этого не мог. Не более пяти грамм. :sad:
image.jpg

Аватара пользователя
Роман Мирошниченко
Заслуженный Ветеран
Заслуженный Ветеран
Сообщения: 4415
Зарегистрирован: 09 май 2014, 13:31
Откуда: Саратов
Благодарил (а): 536 раз
Поблагодарили: 187 раз
Контактная информация:

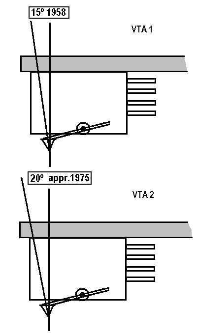
Другая сущность VTA!

#66

Сообщение Роман Мирошниченко » 07 апр 2015, 11:32

Вот такую ссылку получил:
https://www.henleydesigns.co.uk/Cartridge-Support-c615

Очень интересно в ней то, что под VTA подразумевается совсем иной угол. Не тот, что я так упорно пытался достичь. Приведу иллюстрации:
VTA иная трактовка.jpg
Мое представление о VTA.
VTA по ссылки от Комиссарова.jpg
Другой вариант трактовки.
И получается, что кристал нужно не наклонять, а ставить вертикально. Эта позиция гораздо ближе к неоднократно высказанному мной предположению о том, что "ГОРИЗОНТАЛЬНОЕ положение картриджа (шелла) - ПРАВИЛЬНОЕ!". Посмотрим на микрофотографии. Для вертикального положения кристалла, картридж не нужно сильно наклонять. В большинстве случаев достаточно горизонтального положения головки.

Аватара пользователя
poty
Профи
Профи
Сообщения: 5049
Зарегистрирован: 24 мар 2014, 10:00
Откуда: Россия, Москва
Благодарил (а): 192 раза
Поблагодарили: 664 раза
Контактная информация:

#67

Сообщение poty » 07 апр 2015, 14:48

Мне совсем непонятно, что за угол отображён на втором рисунке, мне кажется, там совсем потерян смысл всего этого понятия.
Я бы посоветовал прочитать это:
http://www.tnt-audio.com/sorgenti/vta_e.html
Но, к сожалению, оно на английском! :(
Вкратце смысл статьи сводится к следующему. В связи с тем, что невозможно выдержать все геометрические параметры, используемые при нарезке мастер-диска, сильной зависимости VTA от толщины пластинки, угла поворота тонарма, температуры, конструкции тонарма, искривлённости пластинки, параллельности и перпендикуларности... единственным способом правильной установки картриджа является горизонтальность его "посадочной площадки".
Владислав

Аватара пользователя
Роман Мирошниченко
Заслуженный Ветеран
Заслуженный Ветеран
Сообщения: 4415
Зарегистрирован: 09 май 2014, 13:31
Откуда: Саратов
Благодарил (а): 536 раз
Поблагодарили: 187 раз
Контактная информация:

#68

Сообщение Роман Мирошниченко » 07 апр 2015, 15:23

Спасибо.

Дело в том, что как этот VTA не устанавливай, все равно в одном месте выигрываешь, в другом проигрываешь. На разных пластинках по разному звучит. Здесь не только технические параметры влияют на восприятие, но и субъективность слушателя. Хочется, например, к записи добавить высоких, вот и невольно добиваешься этого. А их там может и не быть просто. И VTA совсем не причем.

Аватара пользователя
poty
Профи
Профи
Сообщения: 5049
Зарегистрирован: 24 мар 2014, 10:00
Откуда: Россия, Москва
Благодарил (а): 192 раза
Поблагодарили: 664 раза
Контактная информация:

#69

Сообщение poty » 07 апр 2015, 16:03

Значит, нужно ориентироваться на производителя картриджа, принимая на веру то, что площадка для установки должна быть горизонтальной.
Владислав

Аватара пользователя
Роман Мирошниченко
Заслуженный Ветеран
Заслуженный Ветеран
Сообщения: 4415
Зарегистрирован: 09 май 2014, 13:31
Откуда: Саратов
Благодарил (а): 536 раз
Поблагодарили: 187 раз
Контактная информация:

#70

Сообщение Роман Мирошниченко » 07 апр 2015, 18:20

Буду пробовать. Сейчас нацелился на установку Audio Technica ML150/OCC (дождусь очередного шелла только). У нее с геометрией все наглядно должно быть. И на Shure V15 III. По ней в инструкции четко написано - параллельно воспроизводимой поверхности. И буду слушать, и делать выводы.

Аватара пользователя
Роман Мирошниченко
Заслуженный Ветеран
Заслуженный Ветеран
Сообщения: 4415
Зарегистрирован: 09 май 2014, 13:31
Откуда: Саратов
Благодарил (а): 536 раз
Поблагодарили: 187 раз
Контактная информация:

Шеллы SME "S2" и "S2-R"

#71

Сообщение Роман Мирошниченко » 11 апр 2015, 20:30

Имея в распоряжении две разновидности шеллов, хочу отметить их различия.
IMG_4394.JPG
Слева "S2-R", справа "S2"
1) Дело не только в том, что "S2-R" толще и имеет иное крепление фингерлифта (который в отличии от "S2" немагнитный, как и весь шелл). Главное отличие (и достоинство "S2-R") - два штырька для байонетного крепления на разъеме.
IMG_4393.JPG
Слева "S2-R", справа "S2"
Это позволяет шеллу устанавливаться ровнее в тонарм. Однако, мои наблюдения показали, что "задирание носа" характерно для обоих разновидностей. Т.е. установить шелл параллельно трубке тонарма не возможно. Просто на двухштырьковом "S2-R" это проявляется меньше.

2) Другой особеностью является установочная площадка под картридж.
IMG_4392.JPG
Слева "S2-R", справа "S2"
У "S2-R" это плоскость, у "S2" - выступы. Которые, в совокупности с накладываемым на них фингерлифтом, влекут за собой увеличение высоты установки тонарма. Это может показаться бесполезной информацией, но я использовал ее для движения в сторону унификации установки (возможно, это кода-нибудь свершится). Например, "Pickering XV15 D400" имеет почти вертикальный кристалл и большую высоту корпуса, я установил его на "S2-R" (горизонт по шеллу). А, "EMPIRE 4000 DIII" ниже и кристалл нагнут прилично - на "S2" (горизонт по трубке тонарма).

3) Так же они имеют разный вес.
IMG_4388.JPG
"S2-R" (экз. 1)
IMG_4389.JPG
"S2-R" (экз. 2)
IMG_4387.JPG
"S2" (проводки сняты, но это его родные)
Я не смог найти шелл легче (это необходимо если система резонирует на частоте ниже 8Гц., т.е. картридж слишком поддатлив для данного тонарма). Близок "ADC LMG-1":
IMG_4401.JPG
"ADC LMG-1" (проводки родные)
Но, он значительно толще. Это потребует более длинных болтиков, а их вес не стоит недооценивать.
IMG_4390.JPG
Крепеж SME 6 mm. (алюминий)
IMG_4391.JPG
Крепеж SME 9 mm. (тефлон)
P.S. Отмечу, что эти шеллы не имеют пазов для регулировки установленного картриджа (это подразумевается делать, двигая слайд-базу тонарма). Но, примерно, миллиметр все же доступен - прижат вперед /прижат назад. И можно поиграть прокладкой на байонет (разная толщина и жесткость).

P.S.2 Эти шеллы имеют и разное расстояние от центра крепежных отверстий картриджа до байонетного разъема. Что обеспечивает разный оверхэнг:
- Для "S2-R" 13,2 мм.;
- Для "S2" 11 мм.

Аватара пользователя
Роман Мирошниченко
Заслуженный Ветеран
Заслуженный Ветеран
Сообщения: 4415
Зарегистрирован: 09 май 2014, 13:31
Откуда: Саратов
Благодарил (а): 536 раз
Поблагодарили: 187 раз
Контактная информация:

Микрофотография под нагрузкой

#72

Сообщение Роман Мирошниченко » 12 апр 2015, 16:16

Удалось сфотографировать кристалл Audio Technica ML150/OCC на тонарме. Правда в статике. Прижимая сила 1,3 грамма. Шелл установлен горизонтально.
image.jpg
image.jpg

Аватара пользователя
Роман Мирошниченко
Заслуженный Ветеран
Заслуженный Ветеран
Сообщения: 4415
Зарегистрирован: 09 май 2014, 13:31
Откуда: Саратов
Благодарил (а): 536 раз
Поблагодарили: 187 раз
Контактная информация:

#73

Сообщение Роман Мирошниченко » 14 апр 2015, 10:53

image.jpg
При проверке проигрывателя стетоскопом, я был несколько удивлен и озадачен. На корпусах обоих тонармов отчетливо прослушивались воспроизводимая в этот момент музыка. При этом, разумеется, усилитель был отключен и колонки молчали.
image.jpg
image.jpg
Очевидно, что звук передается с иглы. Но, я не сталкивался с подобным. Нормальное это явление? Или с ним нужно бороться?

Предстоит разобраться. По идее, хорошего в этом ничего нет. Если звук "гуляет" в тонарме, он может возвращаться обратно на картридж. В любом случае, это лишние вибрации и резонансы. Озадачен. :think:

Аватара пользователя
poty
Профи
Профи
Сообщения: 5049
Зарегистрирован: 24 мар 2014, 10:00
Откуда: Россия, Москва
Благодарил (а): 192 раза
Поблагодарили: 664 раза
Контактная информация:

#74

Сообщение poty » 14 апр 2015, 13:21

Это нормальное явление. Масса тонарма создаёт инерционный момент, за счёт которого игла имеет возможность двигаться на свободно висящем тонарме. Какая бы масса тонарма ни была, система подвес+сила отклонения иглы всё равно перемещает тонарм, хоть и на меньшую амплитуду (существенно меньшую). С повышением частоты, когда длина волны становится маленькой, эффективная масса тонарма снижается, так как начинает играть роль изгибный момент (жёсткость трубки). Это приводит к тому, что и так усиленные за счёт коррекции высокие "раскачивают" тонарм ещё больше.
Владислав

Аватара пользователя
Роман Мирошниченко
Заслуженный Ветеран
Заслуженный Ветеран
Сообщения: 4415
Зарегистрирован: 09 май 2014, 13:31
Откуда: Саратов
Благодарил (а): 536 раз
Поблагодарили: 187 раз
Контактная информация:

#75

Сообщение Роман Мирошниченко » 15 апр 2015, 10:49

Чем глубже погружаюсь в виниловодство, тем чаще вспоминаю: «Майский жук летает, нарушая все законы аэродинамики, но майский жук об этом не знает и продолжает летать». Как быть когда знаешь? И почему, тем не менее, это продолжает все больше увлекать и все больше нравится слушать?... Риторические вопросы :-)

Аватара пользователя
Роман Мирошниченко
Заслуженный Ветеран
Заслуженный Ветеран
Сообщения: 4415
Зарегистрирован: 09 май 2014, 13:31
Откуда: Саратов
Благодарил (а): 536 раз
Поблагодарили: 187 раз
Контактная информация:

"SME FD-200"

#76

Сообщение Роман Мирошниченко » 24 апр 2015, 11:00

Созрел таки к установке жидкостного демпфирования. Установил на SME 3012 штатную "ванночку". Она предлагалась самим производителем, как отдельный аксессуар.
FD 200.jpg
FD 200.jpg (9.53 КБ) 102589 просмотров
image.jpg
Приобрел я ее вместе с тонармами, но не хотел спешить. Оставил как лакомство. Сейчас, когда уже вдоволь наигрался в чистом виде, решился на апгрейд. Очень интересное приспособление. В установке ничего сложного.

Инструкция у меня на английском. Надеюсь я все правильно прочитал.

ve_sme_fd200

При настройке заметил, что частота резонанса не изменилась. Прикрепленная лопаточка не сильно повлияла на увеличение эф. массы. Но, амплитуда резонанса заметно ослабла. С антискейтингом пока не понял эффекта. На гладких проверочных участках возросла устойчивость. Но, при тестировании сигналом разницы не заметил.

Пожалуй, я хочу такое и на второй тонарм. :nervious:
FD 200 графики демпфирования.jpg

Аватара пользователя
Роман Мирошниченко
Заслуженный Ветеран
Заслуженный Ветеран
Сообщения: 4415
Зарегистрирован: 09 май 2014, 13:31
Откуда: Саратов
Благодарил (а): 536 раз
Поблагодарили: 187 раз
Контактная информация:

FD 200 на SME 3009

#77

Сообщение Роман Мирошниченко » 27 июн 2015, 15:26

Приобрел таки демпфер и на второй тонарм. Купил не полный комплект, а лишь то, что непосредственно было нужно. По сути за половину стоимости комплекта NOS получил лишь 25% в состоянии Б/У. :eek: Но, что хотел - я сделал. :wink:

Конечно же сразу поставил.
IMG_4470.JPG
IMG_4474.JPG
Не посвященному глазу и не понять, о чем речь... :biggrin:
IMG_4475.JPG
Изменения в звуке были мною ожидаемы (поэтому и выложил денежки за эту финтифлюшку). Я специально продолжительное время не менял на этом тонарме головку. Shure V15 III звучала и сама по себе превосходно. И все-таки, результат апгрейда получился хороший.

Как всегда в процессе познания появляются новые вопросы и сомнения... Демпфирующая жидкость у меня не фирменная. Досталась вместе с тонармами. Флакон большой - на обе ванны хватило и еще осталось. Но вот вязкость у нее 100 cst. А в инструкции на ванночку рекомендуется 200 (фирменная SME). Я так понимаю, что моя менее вязкая. (Хотя вытекает из флакона она очень туго...) Не думаю, что ситуация критична. Изменения в звуке явно слышны. Весло я поставил 9mm. Учитывая, рекомендации из инструкции и то, что головки сюда планируются с поддатливостью 20-30.
fd200 inst.JPG

Аватара пользователя
Роман Мирошниченко
Заслуженный Ветеран
Заслуженный Ветеран
Сообщения: 4415
Зарегистрирован: 09 май 2014, 13:31
Откуда: Саратов
Благодарил (а): 536 раз
Поблагодарили: 187 раз
Контактная информация:

#78

Сообщение Роман Мирошниченко » 29 июн 2015, 21:24

Я не могу сказать, что это за состав. Внешне похож на строительный силикон, но значительно жиже. Вид тюбика с фирменной жидкостью есть в посте #168. Хотя вряд ли это что-то прояснит. Могу сфотографировать флакончик той, что есть у меня.

Пришлось флакон распрямить... Но, сфотографировал все, что на нем написано.
image.jpg
image.jpg
image.jpg
В инструкцие, что-то было по этому вопросу. Она в том же посте приложена. Если прочитаешь, буду признателен.

Аватара пользователя
poty
Профи
Профи
Сообщения: 5049
Зарегистрирован: 24 мар 2014, 10:00
Откуда: Россия, Москва
Благодарил (а): 192 раза
Поблагодарили: 664 раза
Контактная информация:

#79

Сообщение poty » 29 июн 2015, 23:33

Что прочитать-то нужно? Всю инструкцию перевести не обязуюсь, но нужные места прочитаю.
Про жидкость написано, что это силикон с контролируемой вязкостью.
Последний раз редактировалось poty 30 июн 2015, 10:19, всего редактировалось 1 раз.
Владислав

Аватара пользователя
Роман Мирошниченко
Заслуженный Ветеран
Заслуженный Ветеран
Сообщения: 4415
Зарегистрирован: 09 май 2014, 13:31
Откуда: Саратов
Благодарил (а): 536 раз
Поблагодарили: 187 раз
Контактная информация:

#80

Сообщение Роман Мирошниченко » 30 июн 2015, 10:02

Я читал инструкцию в собственном переводе. Т.е., как мог. Но, вот здесь по-моему говориться, что жидкость термостойка и устойчива к испарению. В период, когда не используется, следует укрывать от пыли... Крышка пооигрывателя вполне подойдет. Или салфетка... Я ничем не накрываю. :oops:
image.jpg

Ответить

Кто сейчас на конференции

Сейчас этот форум просматривают: нет зарегистрированных пользователей и 0 гостей